[HD] CPEP Final Exam Notes (Trimester System)
Subject notes for UNSW LAWS2351
Description
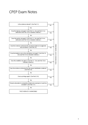
This is a full set of exam notes covering all the topics in LAWS2351 CPEP in 2019 T2 (compatible with the new trimester system). It contains notes on the credibility, hearsay, opinion, tendency, coincidence, character, identification rules and all other topics covered in that term. These notes were used to achieve a final grade of 85. It is structured in a way to assist with answering a problem question in the exam, as it is separated in "steps". You will just need to follow the steps accordingly depending on the issues raised in the exam. Some sections are also broken down into further issues for you to directly follow in the exam.
UNSW
Term 2, 2019
62 pages
27,065 words
$29.00
23
Campus
UNSW, Kensington
Member since
February 2016